- Категории
-
ЛЮСТРЫ В ШОУ-РУМЕ
- Люстры в наличии
- Светильники в наличии
- Подвесы в наличии
- Бра в наличии
- Настольные лампы и торшеры в наличии
- Трековые системы, ленты, блоки в наличии
- NEW!!! Новинки 2026 г.
- ЛЮСТРЫ
-
Люстры СВЕТОДИОДНЫЕ
- ПОТОЛОЧНЫЕ LED люстры
- ПОДВЕСНЫЕ LED люстры
- ПОДВЕСНЫЕ КОЛЬЦА LED люстры
- ПОДВЕСНЫЕ КВАДРАТЫ LED люстры
- ГИБКИЙ НЕОН
- Люстры СОВРЕМЕННЫЕ и модерн
- Люстры ЧЕРНЫЕ
- Люстры ЗОЛОТО, БРОНЗА потолочные
- Люстры ЗОЛОТО, БРОНЗА подвесные
- Люстры ХРОМ потолочные
- Люстры ХРОМ подвесные
- Люстры БЕЛЫЕ
- Люстры КОЛЬЦА С ХРУСТАЛЕМ
- Люстры ХРУСТАЛЬ современный золото, бронза
- Люстры ХРУСТАЛЬ современный ХРОМ
- Люстры ГОРИЗОНТАЛЬНЫЕ
- Люстры СВЕЧКИ без плафонов
- Люстры АРТ-ДЕКО (с плафонами)
- Люстры-КАСКАДЫ
- Люстры для ДЕТСКОЙ
- Люстры недорогие, акции
- Люстры АБАЖУРЫ + в стиле Ретро
- Люстры LOFT, дерево, ковка
- Люстры КЛАССИКА, ХРУСТАЛЬ
- Люстры классика БРОНЗА
- Люстры классика ЗОЛОТО
- Люстры классика СЕРЕБРО, БЕЛЫЕ
- Светильники потолочные классика
- Люстры хрустальные классика золото, бронза
- Люстры хрустальные классика хром, никель
- Люстры хрустальные белые
- ТРЕКОВЫЕ светильники
-
Треки MAYTONI
-
Maytoni Unity 220В
- Шинопровод накладной Maytoni Unity 220В
- Шинопровод встраиваемый Maytoni Unity 220В
- Светильники к шине Maytoni Unity 220В
- ХИТ! Тонкая магнитная система Exility 48В
- Светильники магнитные Exility Maytoni
- Светильники магнитные Dim Smart Exility Maytoni
- Светильники магнитные Dim Dali Exility Maytoni
- Светильники магнитные Dim Zigbee Exility Maytoni
- Треки, комплекты магнитные Exility Maytoni
- Трековая система 3-х фазная Maytoni Trinity 220В
- Магнитная система RADITY Maytoni 48В
- Магнитная система 15 мм BASITY
- Профили для натяжных/ГКЛ потолков
- Магнитная система GRAVITY Maytoni 48В
- Магнитная система S35 Maytoni 48В
- Гибкая трековая система FLEXITY
- Трековая система Maytoni FLARITY
- Трековая система Maytoni LEVITY
- Уличная трековая система освещения Exility IP64, 48В
- Трековая система Maytoni Axity
- Maytoni блоки 48V
- Модульная система освещения Shelf
- Текстильная лента Parity
- Гибкая трековая система ELASITY 48В IP65
- Тросовая система освещения Teras
- Треки ST-LUCE
-
Трековая система SKYLINE 220 ST Luce
- Светильники SKYLINE 220 ST Luce
- Треки и комплектующие SKYLINE 220 ST Luce
- Профиль для потолка для SKYLINE 220 ST Luce
- Трековая система SKYLINE 48 ST Luce
- Светильники SKYLINE 48 ST Luce
- Треки и комплектующие SKYLINE 48 ST Luce
- Профиль для потолка для SKYLINE 48 ST Luce
- Треки Skyflat 48В St Luce
- Треки Super5 ST Luce 24V
- Светильники к трекам 1-фазным ST-LUCE
- Светильники к трекам 1-фазным TRIAC ST-LUCE
- Накладные/встраиваемые треки 1-фазн и комплектующие ST-LUCE
- Ременная система BAND ST Luce
- Светильники к трекам 3-фазным ST-LUCE
- Накладные/встраиваемые треки 3-фазн и комплектующие ST-LUCE
- ST LUCE TECHNO
- Тросовая система RAY ST LUCE
- Треки ARTELAMP
- Светильники МАГНИТНЫЕ ArteLamp LINEA 48V
- Треки МАГНИТНЫЕ ArteLamp LINEA 48V
- Треки МАГНИТНЫЕ ArteLamp OPTIMA 48V, 25 мм высота
- Светильники МАГНИТНЫЕ EXPERT-ACCESSORIES ArteLamp 48V
- Треки МАГНИТНЫЕ EXPERT-ACCESSORIES ArteLamp 48V
- Светильники на треки ArteLamp 220V
- Треки ArteLamp TRACK ACCESSORIES 220V
- Профиль для встраивания Arte Lamp
- РЕМЕННАЯ система Decorato
- Треки МАГНИТНЫЕ ArteLamp RAPID 48V
- Щелевые диффузоры для вентиляции и кондиционирования
- Треки NOVOTECH
- NEW! Трековая смарт-система VECTOR 220V
- Ультратонкая трек система FLUM (48В)
- OVER BITS
- OVER FATTO
- Трек система SMAL (48В)
- Треки и светильники EASY 24В
- Novotech 1-фазн 3-х жильный (220В)
- Novotech 1-фазн 2-х жильный (220В)
- Светильники для шины Novotech 3-фазн (220В)
- Шины и комплектующие Novotech 3-фазн (220В)
- Модульная система GLAT
- Низковольтная трек система KIT RATIO (48В)
- FINO XS
- FINO
- Треки FAVOURITE
- Треки DENKIRS
- NEW! Denkirs SHINE 48V
- Ультратонкая трек система AIR 48V
- Светильники Smart
- Треки и комплектующие Smart
- Светильники Smart Zigbee
- Светильники однофазные SOLID
- Треки и комплектующие однофазные SOLID
- РЕМЕННАЯ СИСТЕМА Denkirs Belty
- Треки LIGHTSTAR
- Треки магнитные UNO 48В
- Светильники для треков Lightstar PRO
- Треки и комплектующие Lightstar PRO
- Светильники для 1-фазных шин Lightstar
- Шинопровод 1-фазный и комплектующие Lightstar
- Шинопровод 1-фазный и комплектующие Lightstar ВСТРАИВАЕМЫЙ
- Светильники для 3-фазных шин Lightstar
- Шинопровод 3-фазный и комплектующие Lightstar
- Система Trito
- Lightstar Linea
- Ременная Lightstar Nove
- Крепления 1-фазные к светильникам для шин Lightstar
- Треки ELEKTRO- STANDARD
- Светильники к 1-фазн трекам Elektrostandard
- Треки 1-фазн и комплектующие Elektrostandard
- Светильники к 3-фазн трекам Elektrostandard
- Треки 3-фазн Elektrostandard
- Светильники Slim Magnetic
- Треки и комплектующие Slim Magnetic
- Elektrostandard Line
- Elektrostandard Mini Magnetic
- Светильники, треки Flat Magnetic
- Треки APLOYT
- СВЕТИЛЬНИКИ потолочные, подвесные, накладные
- Светильники НАКЛАДНЫЕ точечные
-
Светильники ПОДВЕСНЫЕ
- Одиночные ЧЕРНЫЕ подвесные светильники
- Одиночные ЗОЛОТО, БРОНЗА подвесные светильники
- Одиночные БЕЛЫЕ подвесные светильники
- Двойные, тройные и ПРОЧИЕ подвесные светильники
- Одиночные ХРОМ подвесные светильники
- ЛОФТ подвесные светильники
- СИНИЕ, ЗЕЛЕНЫЕ, КРАСНЫЕ подвесные светильники
- ШАРЫ подвесные светильники
- Светильники КРУГЛЫЕ потолочные
- Светильники КВАДРАТНЫЕ потолочные
- ПОТОЛОЧНЫЕ светильники для ванной с влагозащитой
- Светильники ОФИСНЫЕ, длинные
- Светильники Saphire, Elegant
- Светильники Ambrella light
- Светильники AM Group
- Светильники Sfera Sveta, NewRgy
- Natural Concepts
- Люстры Natural Concepts
- Подвесные светильники Natural Concepts
- Бра Natural Concepts
- Светильники Natural Concepts
- Настольные Natural Concepts
- Торшеры Natural Concepts
- Уличные Natural Concepts
- Светильники Ideal Lux
- ЛВО и ЛПО, Армстронг, Грильято, Diodex
- ВСТРАИВАЕМЫЕ светильники
- СВЕТОДИОДНЫЕ светильники встраиваемые
- LED панели тонкие
- КРУГЛЫЕ светильники встраиваемые
- КВАДРАТНЫЕ светильники встраиваемые
- ВЫДВИЖНЫЕ светильники встраиваемые
- С ВЛАГОЗАЩИТОЙ светильники встраиваемые
- Для НАТЯЖНОГО потолка
- По 2, 3, 4 ЛАМПЫ светильники встраиваемые
- ДЛЯ СТЕН И ПОЛА светильники встраиваемые
- ДЛЯ ГКЛ и ГИПС светильники встраиваемые
- КАРДАНЫ, ТЕХНО светильники встраиваемые
- СТЕКЛО светильники встраиваемые
- НАСТЕННЫЕ бра
- СВЕТОДИОДНЫЕ бра
- БРА ТОНКИЕ LED
- ПОДСВЕТКА СТЕН, бра вверх/вниз
- ПРИКРОВАТНЫЕ бра, на гибкой ножке
- Подсветки ДЛЯ КАРТИН/ЗЕРКАЛ
- Бра БЕЛЫЕ
- Бра ЧЕРНЫЕ
- Бра модерн ХРОМ, НИКЕЛЬ
- Бра модерн ЗОЛОТО, БРОНЗА
- Бра АРТ-ДЕКО
- Бра-СВЕЧКИ (без плафонов)
- Бра КЛАССИКА
- Бра ЛОФТ
- Бра ХРУСТАЛЬ
- Бра ВЕНГЕ/ДЕРЕВО/КОВКА
- Бра для ВАННОЙ
- Бра для ДЕТСКОЙ
-
СПОТЫ поворотные
-
ОДИНОЧНЫЕ споты поворотные
- ДВОЙНЫЕ споты поворотные
- ТРОЙНЫЕ споты поворотные
- СИСТЕМА спотов (длинная)
- НАСТОЛЬНЫЕ лампы
- Лампы настольные НА ПОДАРОК НГ 2026
- Лампы настольные ДЕКОРАТИВНЫЕ
- Лампы настольные с ШАРАМИ
-
Лампы настольные С АБАЖУРОМ
- Настольные лампы БЕЛЫЙ абажур
- Настольные лампы БЕЖЕВЫЙ/желтый абажур
- Настольные лампы ЧЕРНЫЙ/коричневый абажур
- Настольные лампы ЦВЕТНОЙ абажур
- Настольные лампы АБАЖУР
- Лампы настольные УЧЕНИЧЕСКИЕ
- Лампы настольные СВЕТОДИОДНЫЕ
- Лампы настольные КЛАССИКА
- НАПОЛЬНЫЕ торшеры
- Торшеры С АБАЖУРОМ
- Торшеры ДЕКОРАТИВНЫЕ
- Торшеры КЛАССИЧЕСКИЕ
- Торшеры МЕТАЛЛИЧЕСКИЕ
- Торшеры С ВЫНОСОМ
- Торшеры HI-TECH и светодиодные
- УЛИЧНЫЕ светильники
- СВЕТОДИОДНЫЕ и ПОДСВЕТКА уличные светильники
- НАСТЕННЫЕ уличные светильники
- ФОНАРИ на ножке
- ПОТОЛОЧНЫЕ и подвесные уличные светильники
- ТРОТУАРНЫЕ, в грунт уличные светильники
- ПРОЖЕКТОРЫ уличные
- Сопутствующие товары
- ЛАМПЫ
- Светодиодные лампы Е14 матовые
- Светодиодные лампы Е14 прозрачные
- Светодиодные лампы Е27 матовые
- Светодиодные лампы Е27 прозрачные
-
Светодиодные лампы G5.3 (MR16)
- Светодиодные лампы GU10
- Светодиодные лампы G9
- Светодиодные лампы GX53
- LED модули
- Светодиодные лампы G4, MR11, AR111, G5.3
- Лампы ретро
- Лампы Voltega
- Лампы Wi-Fi
- РОЗЕТКИ, выключатели, рамки, прочее
-
NEW!!! Voltum S70
- БЕЛЫЙ МАТОВЫЙ Voltum
- БЕЛЫЙ Voltum
- ЧЕРНЫЙ Voltum
- ШЕЛК Voltum
- ТИТАН Voltum
- СТАЛЬ Voltum
- КАШЕМИР Voltum
- ГРАФИТ Voltum
- Накладки, клавиши Voltum
- МЕХАНИЗМЫ Voltum
- S70 Metal
- ДЕНИМ Voltum
- КАПУЧИНО Voltum
- СЕРЫЙ Voltum
- ХЛОПОК Voltum
- WERKEL
-
Рамки WERKEL
- Рамки Favorit (стекло)
- Рамки Aluminium (алюминий)
- NEW! Рамки Acrylic (акрил закругленные)
- Рамки Stream (поликарбонат)
- Рамки Stark (поликарбонат)
- Рамки Slab (поликарбонат)
- Рамки Elite (скругленное цветное стекло)
- Рамки Snabb / Snabb Basic (поликарбонат)
- Рамки Metallic (металл/пластик)
- Рамки Fiore (поликарбонат)
- Рамки Senso (стекло soft-touch)
- NEW! Рамки Split (soft-touch)
- Рамки Diamant (черное стекло)
- Рамки Palacio Gracia (металл/акрил)
- Рамки Platinum (алюминий)
- Рамки AluMax (алюминий)
- Рамки Baguette (акрил; цинковый сплав)
- Рамки Antik (классика, металл)
- Рамки Hammer (поликарбонат)
- Рамки Flock (поликарбонат)
- Рамки Runda (стекло)
- Розетки WERKEL
- Розетки БЕЛЫЕ ГЛЯНЕЦ
- Розетки БЕЛЫЕ МАТОВЫЕ
- Розетки БЕЛЫЕ АКРИЛ
- Розетки ЧЕРНЫЕ МАТОВЫЕ
- Розетки ЧЕРНЫЕ АКРИЛ
- Розетки СЛОНОВАЯ КОСТЬ
- Розетки АЙВОРИ МАТОВЫЙ
- Розетки АЙВОРИ АКРИЛ
- Розетки ШАМПАНЬ
- Розетки ШАМПАНЬ РИФЛЕНЫЙ
- Розетки СЕРЕБРО МАТОВЫЙ
- Розетки СЕРЕБРО РИФЛЕНЫЙ
- Розетки СЕРО-КОРИЧНЕВЫЙ
- Розетки ГРАФИТ РИФЛЕНЫЙ/МАТОВЫЙ
- Розетки ГРАФИТ АКРИЛ
- Розетки НИКЕЛЬ ГЛЯНЦЕВЫЙ
- Розетки ПЕРЛАМУТР РИФЛЕНЫЙ
- Розетки HAMMER
- Розетки ДЫМЧАТЫЕ
- Выключатели WERKEL
- Выключатели БЕЛЫЕ
- Выключатели БЕЛЫЕ МАТОВЫЕ
- Выключатели БЕЛЫЕ АКРИЛ
- Выключатели ЧЕРНЫЕ
- Выключатели ЧЕРНЫЕ АКРИЛ
- Выключатели СЛОНОВАЯ КОСТЬ
- Выключатели АЙВОРИ АКРИЛ
- Выключатели ШАМПАНЬ
- Выключатели ШАМПАНЬ РИФЛЕНЫЙ
- Выключатели СЕРЕБРО
- Выключатели СЕРЕБРО МАТОВЫЙ
- Выключатели СЕРЕБРО РИФЛЕНЫЙ
- Выключатели СЕРО-КОРИЧНЕВЫЙ
- Выключатели ГРАФИТ РИФЛЕНЫЙ/МАТОВЫЙ
- Выключатели ГРАФИТ АКРИЛ
- Выключатели НИКЕЛЬ ГЛЯНЦЕВЫЙ
- Выключатели ПЕРЛАМУТРОВЫЙ РИФЛЕНЫЙ
- Выключатели HAMMER
- Выключатели СЛОНОВАЯ КОСТЬ МАТОВЫЕ
- Выключатели ДЫМЧАТЫЙ
- Накладки, клавиши, заглушки WERKEL
- Диммеры и терморегуляторы WERKEL
- Двойные WERKEL
- Ретро розетки, выключатели, ретрокабель
- Накладные розетки и выключатели
- DONEL
-
Donel A07
- Donel A07 Матовый белый
- Donel A07 Глянцевый белый
- Donel A07 Матовый карбон
- Donel A07 Матовый кашемир
- Donel A07 Матовый кремовый
- Donel A07 Матовый серый
- Donel A07 Матовый титан
- Donel A07 Мокко
- Donel A07 Сталь
- Donel A07 Шампань
- Donel A07 Wave
- Donel A07 Natural (стекло, метал)
- Donel S08
- Donel S08 Глянцевый белый
- Donel S08 Матовый белый
- Donel S08 Матовый кремовый
- Donel S08 Матовый титан
- Donel S08 Мокко
- Donel S08 Серый графит
- Donel S08 Слоновая кость
- Donel S08 Сталь
- Donel S08 Черный графит
- Donel S08 Шампань
- Donel механизмы и розетки серия DB (для A07, S08)
- Donel N96
- Donel R98
- ВЫДВИЖНЫЕ розетки, лючки в стол, пол DONEL
- IEK
-
Рамки, розетки BRITE
- BRITE БЕЛЫЙ
- BRITE ЧЕРНЫЙ
- BRITE БЕЖЕВЫЙ
- BRITE АЛЮМИНИЙ
- BRITE ЖЕМЧУГ
- BRITE СТАЛЬ
- BRITE ШАМПАНЬ
- BRITE ГРАФИТ
- BRITE МАРЕНГО
- BRITE ТЕМНАЯ БРОНЗА
- BRITE БЕЛЫЙ РИФЛЕНЫЙ
- BRITE СТЕКЛО БЕЛЫЙ
- BRITE СТЕКЛО ВАНИЛЬНЫЙ
- Серия SKANDY
-
РАМКИ SKANDY
- БЕЛЫЕ SKANDY РАМКИ
- ЧЕРНЫЕ SKANDY РАМКИ
- БЕЖЕВЫЕ SKANDY РАМКИ
- ШАМПАНЬ SKANDY РАМКИ
- СЕРЕБРО SKANDY РАМКИ
- СЕРЫЕ SKANDY РАМКИ
- МЯТНЫЕ SKANDY РАМКИ
- ТИТАН SKANDY РАМКИ
- ГРАФИТ SKANDY РАМКИ
- ПЕСОЧНЫЙ SKANDY РАМКИ
- БЕЛЫЕ СТЕКЛО SKANDY РАМКИ
- ЧЕРНЫЕ СТЕКЛО SKANDY РАМКИ
- БЕЖЕВЫЕ СТЕКЛО SKANDY РАМКИ
- ШАМПАНЬ СТЕКЛО SKANDY РАМКИ
- ШОКОЛАД МЕТАЛЛ SKANDY РАМКИ
- ГРАФИТ СТЕКЛО SKANDY РАМКИ
- ШАМПАНЬ МЕТАЛЛ SKANDY РАМКИ
- НИКЕЛЬ МЕТАЛЛ SKANDY РАМКИ
- РОЗЕТКИ SKANDY
- БЕЛЫЕ SKANDY РОЗЕТКИ
- ЧЕРНЫЕ SKANDY РОЗЕТКИ
- БЕЖЕВЫЕ SKANDY РОЗЕТКИ
- ШАМПАНЬ SKANDY РОЗЕТКИ
- СЕРЕБРО SKANDY РОЗЕТКИ
- СЕРЫЕ SKANDY РОЗЕТКИ
- МЯТНЫЙ SKANDY РОЗЕТКИ
- ТИТАН SKANDY РОЗЕТКИ
- ГРАФИТ SKANDY РОЗЕТКИ
- ПЕСОЧНЫЙ SKANDY РОЗЕТКИ
- ВЫКЛЮЧАТЕЛИ SKANDY
- БЕЛЫЕ SKANDY ВЫКЛЮЧАТЕЛИ
- ЧЕРНЫЕ SKANDY ВЫКЛЮЧАТЕЛИ
- БЕЖЕВЫЕ SKANDY ВЫКЛЮЧАТЕЛИ
- ШАМПАНЬ SKANDY ВЫКЛЮЧАТЕЛИ
- СЕРЕБРО SKANDY ВЫКЛЮЧАТЕЛИ
- СЕРЫЕ SKANDY ВЫКЛЮЧАТЕЛИ
- МЯТНЫЙ SKANDY ВЫКЛЮЧАТЕЛИ
- ТИТАН SKANDY ВЫКЛЮЧАТЕЛИ
- ГРАФИТ SKANDY ВЫКЛЮЧАТЕЛИ
- ПЕСОЧНЫЙ SKANDY ВЫКЛЮЧАТЕЛИ
- ВЫВОД SKANDY
- ДАТЧИКИ SKANDY
- ЗАГЛУШКИ SKANDY
- ПОДСВЕТКИ SKANDY
- ТЕРМОСТАТ SKANDY
- Серия FORTE&PIANO
-
РОЗЕТКИ FORTE&PIANO
- БЕЛЫЕ РОЗЕТКИ FORTE&PIANO
- ЧЕРНЫЕ РОЗЕТКИ FORTE&PIANO
- СЕРЫЕ РОЗЕТКИ FORTE&PIANO
- ВАНИЛЬ РОЗЕТКИ FORTE&PIANO
- СТАЛЬ РОЗЕТКИ FORTE&PIANO
- ВЫКЛЮЧАТЕЛИ FORTE&PIANO
- БЕЛЫЕ ВЫКЛЮЧАТЕЛИ FORTE&PIANO
- ЧЕРНЫЕ ВЫКЛЮЧАТЕЛИ FORTE&PIANO
- СЕРЫЕ ВЫКЛЮЧАТЕЛИ FORTE&PIANO
- ВАНИЛЬ ВЫКЛЮЧАТЕЛИ FORTE&PIANO
- СТАЛЬ ВЫКЛЮЧАТЕЛИ FORTE&PIANO
- ЗАГЛУШКИ FORTE&PIANO
- ПОДСВЕТКА FORTE&PIANO
- ТЕРМОСТАТ, ДАТЧИКИ FORTE&PIANO
- ВЫВОД FORTE&PIANO
- Подсветка для стен и лестниц
- Пульты, датчики движения, дверные звонки
- Беспроводные выключатели HiTE PRO
- Радиовыключатель клавишный BASE
- Радиовыключатель сенсорный
- Радиовыключатель мебельный
- Радиовыключатель клавишный LE
- Пульт дистанционного управления
- Блоки радиореле, сервер
- Радиовыключатель клавишный IP65
- Выключатели без фиксации клавиши (звонкового типа)
- Набор для бра
- ГИРЛЯНДЫ
- Модули Wi-Fi, TRIAL
- Электротехнические работы
- Базы и основания потолочные
- Умный дом
- Реле Elektrostandard
- Умные розетки Elektrostandard
- Умные LED лампы Elektrostandard
- Умные датчики движения Elektrostandard
- Умные датчики безопасности Elektrostandard
- Светодиодная лента, неон
-
Светодиодная лента не влагозащищенная
-
24V Лента LED открытая
- Теплый свет: до 3500K 24V Лента LED открытая
- ХИТ! Дневной свет: до 5000K 24V Лента LED открытая
- MIX 2700-6000K 24V Лента LED открытая
- Холодный свет: до 8000K 24V Лента LED открытая
- RGB 24V Лента LED открытая
- Цветная 24V Лента LED открытая
- 12V Лента LED открытая
- Теплый свет: до 3500K 12V Лента LED открытая
- Дневной свет: до 5000K 12V Лента LED открытая
- Холодный свет: до 8000K 12V Лента LED открытая
- RGB 12V Лента LED открытая
- Цветная 12V Лента LED открытая
- 48V Лента LED открытая
- Светодиодная лента влагозащищенная
-
24V Лента LED влагозащищенная
- Теплый свет: до 3500K 24V Лента LED влагозащищенная
- Дневной свет: до 5000K 24V Лента LED влагозащищенная
- Холодный свет: до 8000K 24V Лента LED влагозащищенная
- RGB 24V Лента LED влагозащищенная
- Цветная 24V Лента LED влагозащищенная
- 12V Лента LED влагозащищенная
- Теплый свет: до 3500K 12V Лента LED влагозащищенная
- Дневной свет: до 5000K 12V Лента LED влагозащищенная
- Холодный свет: до 8000K 12V Лента LED влагозащищенная
- RGB 12V Лента LED влагозащищенная
- Цветная 12V Лента LED влагозащищенная
- 220 Лента LED влагозащищенная
- Лента/неон для бани/сауны
- Блоки питания для лент не влагозащищенные
- 12V Блоки питания для лент открытые
- 24V Блоки питания для лент открытые
- 48V Блоки питания для лент открытые
- 24V Диммируемые блоки питания для лент открытые
- Блоки питания для лент влагозащищенные
- 12V Блоки питания для лент влагозащищенные
- 24V Блоки питания для лент влагозащищенные
- 48V Блоки питания для лент влагозащищенные
- 12V Диммируемые блоки питания для лент IP67
- 24V Диммируемые блоки питания для лент IP67
- Профили для ленты
- Профили врезные для ГКЛ / ЛДСП / Бетон
- Профили для натяжных потолков
- Профиль Flexy SVET для натяжных потолков
- Профили накладные, подвесные и угловые
- Экраны, аксессуары
- Парящий/теневой профиль
- Профиль-плинтус
- Контроллеры RGB, диммеры, пульты
- MAITONI отгружается по 50 м
- Гибкий неон в катушках
- Теплые полы
ПроизводительВыберите производителя- Sferon/Lucia Tucci / Arti Lampadari / Dio D`arte
- Saphire
- Sfera Sveta, NewRgy
- Sonex (Россия)
- ST Luce
- Stellanova (Россия)
- Stilfort
- Gerhort
- Gauss (Китай)
- HiTE PRO
- Voltum
- VeleLuce (Италия)
- Voltega
- Aployt
- Arlight
- Arte Lamp (Италия)
- Citilux (Дания)
- Crystal Lux (Испания)
- Denkirs
- Divinare (Италия)
- Donel
- Elegant Light
- Elektrostandard
- Escada
- Eurosvet
- Evoluce
- Favourite (Германия)
- Freya
- Ideal lux (Италия)
- IEK / BRITE
- Indigo
- Intersvet
- Kink Light
- LED4U
- LEDcraft
- Lightstar (Италия)
- Loft It
- Lumion
- Lussole (Италия)
- Mantra (Испания)
- Maytoni (Германия)
- Megalight (Italline)
- Modelux
- Natural Concepts
- Newport (США)
- Novotech (Венгрия)
- Odeon Light (Италия)
- Omnilux
- Werkel (Швеция)
- Wertmark/Velante
Узнать больше
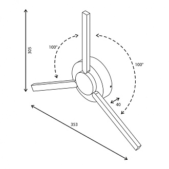
Код товара: 4690389119682Производитель: ElektrostandardДлина, см: Длина, см 4Ширина, см: Ширина, см 30.5Высота, max, см: Высота, max, см 33Световой поток, lm: Световой поток, lm 760Цоколь ламп: Цоколь ламп LEDМощность, Вт: Мощность, Вт 9Цвет арматуры: Цвет арматуры БелыйЦвет плафона/абажура: Цвет плафона/абажура БелыйТемпература свечения: Температура свечения 3000K ТеплыйСтиль: Стиль МодернПомещение: Помещение УлицаВлагозащита: Влагозащита IP показывает защиту от влаги, пыли. IP 20 – защиты от воды нет. IP 44/54 – защита от влажности и брызг. Для ванны, улицы, но не допускать попадания струй воды. IP 64/65 – обладает полной защитой от пыли и брызг внутри и вне помещения. IP54Тип крепления: Тип крепления ПланкаТип лампы: Тип лампы СветодиоднаяЛампочки в комплекте: Лампочки в комплекте ДаТип светильника: Тип светильника Для улицыМощность, Вт: 9
Световой поток, лм: 760
Цветовая температура, К: 3000
Питание: 230 В, 50 Гц
Способ монтажа: накладной
Материал: алюминиевый сплав
Цвет: белый
Степень пылевлагозащиты: IP54Больше характеристик- Наличие товара: Склад Москва. Доставка в Челябинск БЕСПЛАТНО 7-10 рабочих дней, доставка Россия - срок по запросу, >50 городов бесплатной доставки
990₽ 990 RUBОплата и доставкаОбмен и возвратСертификатГарантияЛампочкиДоставка товара ЛЮБОЙ удобной Вам транспортной компанией (СДЭК, Деловые Линии, Байкал-Сервис, Кашалот/Кит):
- по России: доставка бесплатно от суммы 10 000 рублей, список городов...
Оплата товара: наличный расчет, безналичный расчет, on-line оплата на сайте.
Подробнее о доставке и оплате смотрите в разделе «Доставка и оплата»
‼️ Магазин гарантирует замену брака, поврежденных при транспортировке стеклянных плафонов, частей люстры за свой счет в кратчайшие сроки.
Обмен и возврат качественного товара
Покупатель вправе отказаться от товара в любое время до его передачи, а после передачи товара — в течение 7 дней. Возврат осуществляется в транспортную компанию либо пункт выдачи, в котором был получен товар. Должны быть сохранены товарный вид, потребительские свойства, упаковка.
Порядок замены брака
В течение 5-ти дней* после получения товара проверьте пожалуйста целостность плафонов и комплектацию. В случае обнаружения брака Вам необходимо: Сфотографировать недостатки товара. Отправить на почту info@intersvet74.ru письмо с артикулом товара, описанием недостатков, приложить фото. Отдел по работе с претензиями оповестит Вас о сроке замены брака. В согласованный срок мы отправим Вам замену брака за свой счет.
*Покупатели из Челябинска проверяют целостность плафонов и комплектацию в розничном магазине (доставке курьером).Все светильники и электротовары, представленные в нашем магазине прошли обязательную сертификацию в РФ. Мы готовы предоставить Вам сертификаты на почту по Вашему первому требованию.Гарантия на весь товар (электротехническую часть, светодиодные лампы и светильники), представленный в нашем интернет-магазине, составляет 2 года. На плафоны, окраску, стеклянные/бьющиеся части светильника гарантия не распространяется.Лампочки для люстр E14
Лампочки для люстр E27
Лампочки для встраиваемых светильников G5.3 (MR16)
Лампочки для светильников GU10
Лампочки для светильников прочие
Затрудняетесь с выбором ламп? Тогда при оформлении заказа напишите об этом в комментариях и наш менеджер подберет для Вас лампы.
Все товары коллекцииОтправьте проектна почтуshop@intersvet74.ruВы смотрели
-
24V Лента LED открытая
-
ОДИНОЧНЫЕ споты поворотные
-
Maytoni Unity 220В